Cách may quần sooc đơn giản nhất
Cách may quần sooc đơn giản nhất
Mùa hè đến rồi, các chị em hãy nhanh tay tham khảo công thức may quần đùi cực dễ cho cả nam lẫn nữ trong bài viết dưới đây của VnAsk nhé. Cách may quần sooc không hề khó, các chị em chỉ cần chịu khó một chút là đã có những chiếc quần đùi thật đẹp để diện trong hè này rồi.
Cách may váy suông đơn giản nhất
Hướng dẫn may quần sooc mùa hè
1. Cách đo số đo may quần đùi
- Dài quần (Dq): Đo từ ngang thắt lưng qua khỏi mông khoảng 5cm.
- Vòng mông (Vm): Đo vừa sát quanh mông nơi nở nhất.
- Số đo mẫu: Dq = 3cm; Vm: 72cm.

Cách đo với nam (tuy nhiên, trong trường hợp này là may quần đùi nên cách đo cho nữ và nam đều như nhau).

2. Cách tính vải từ công thức cắt may quần đùi
- Khổ vải 0,8/0,9m: (Dq + gấu + cạp + đường may) x 2.
- Khổ vải 1,15/1,2m:
Với trường hợp Vm < 80: Dq + gấu + cạp +đường may.
Với trường hợp Vm > 80: (Dq +gấu+ cạp +đường may) x 2
- Khổ vải 1,4/1,6m: Dq + gấu + cạp +đường may
3. Cách vẽ và cắt trong cách cắt may quần đùi
- Xếp vải: Gấp vải theo canh sợi dọc, mặt trái ra ngoài; bề rộng phần vải gấp vào bằng chỗ rộng nhất của thân quần kể cả đường may (1/4Vm + 1/10Vm + 1cm). Nếp gấp vải đặt ở phía trong người cắt.
Hình vẽ cho chiếc quần đùi theo công thức cắt may

- AB: Hạ đáy = 1/4Vm +1/10Vm = 72/4 +72/10 = 25,2cm.
- AA1: Ngang lưng = 1/4Vm +1 = 72/4 +1 = 19cm.
- BB1: Ngang mông = 1/4Vm + 1/10Vm = 72/4 + 72/10 = 25,2cm.
- B1B2: Vào đáy = 1/20Vm = 72/20 = 3,6cm.
- XX1: Rộng ống = BB1 -2 = 25,2 – 2 = 23,2cm.
- XC: Vát ống quần = 2cm.
Cách cắt quần đùi
Cắt hai thân quần (vải gấp đôi theo đường AX).
Cắt chừa đường may:
Cạp (lưng) =3cm
Đáy quần = 1cm
Đường ống = 1cm
Gấu quần (lai) = 2cm
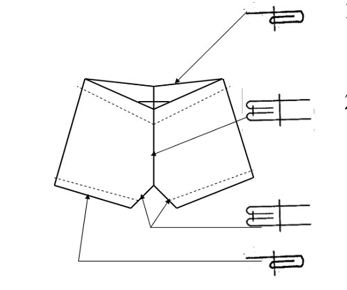
4. Quy trình may trong cách cắt may quần đùi

- May viền gấp mép gấu quần.
- Ráp đáy quần.
- Ráp đường ống quần (từ ống nọ sang ống kia).
- May cạp quần bằng hai đường may.
- Luồn dây thun (cũng có thể nối vòng dây thun rồi vừa may cạp quần vừa luồn).
Cách may chi tiết:
Gấu quần, cạp quần: May viền gấp mép.
Đáy quần và ống quần: May can lộn.
Khi thực hiện đúng công thức bạn có thể may được những sản phẩm như này.

Như vậy là bạn đã hoàn thành cách cắt may quần đùi rồi. Để cắt may được quần đùi đẹp và hợp với người mặc về kích thước, bạn cần tuân thủ những yêu cầu sau: Đó là cần phải lấy số đo chính xác và tính vải đủ; nắm vững công thức tính kích thước các chi tiết của sản phẩm; vẽ, cắt, may đúng quy trình kỹ thuật.
Chúc các bạn thành công!
Xem thêm

Các loại xe máy mới ra, sắp ra mắt 2024 đáng mong đợi nhất

Màu xe Lead nào đẹp nhất 2024? Bảng màu xe Lead phiên bản cao cấp và tiêu chuẩn

Xe Vision 2024 có mấy màu? Bảng màu xe Vision 2024 đầy đủ nhất

10+ Cách làm móng tay nhanh dài và cứng cấp tốc bằng nguyên liệu tự nhiên

Cách làm túi giấy, gấp túi giấy đựng quà bằng giấy A4 tại nhà đơn giản

3 cách làm túi chườm nóng handmade đơn giản để sưởi ấm mùa đông

2 Cách làm đồng hồ cát bằng chai nhựa và chai thủy tinh đơn giản

Cách làm logo Vinamilk bắt trend Facebook và TikTok

Cách làm lông mày rậm, mọc nhanh tại nhà hiệu quả nhất








